| Режим работы: | |
| пн-пт : | 07:00-16:30 |
|
+7(903)136-66-75 +7(495)229-41-87 +7(495)483-72-94 |
|
| germostroy@rambler.ru | |
|---|---|
Устройство бассейнов с применением мастик фирмы «АЛХИМИКА»Руководство по выполнению работ Содержание. 1. Общие положения 1. Общие положения Настоящее руководство распространяется на проектирование и устройство бассейнов и резервуаров различного назначения с применением гидроизоляционной мастики "Гипердесмо". При проектировании и устройстве бассейнов и резервуаров кроме настоящих рекомендаций должны выполнятся требования норм по проектированию, по технике безопасности в строительстве, действующих правил по охране труда и противопожарной безопасности. Работы по строительству должны выполняться специализированными организациями, имеющими лицензию на выполнение этих работ. К производству работ допускаются рабочие, прошедшие медицинский осмотр, обученные технике безопасности и методам ведения работ. Работы по строительству бассейна должны проводиться при температуре окружающей среды от +50С до +350С. 2. Оборудование для нанесения мастики "Гипердесмо" 2.1. Общие сведения Перед нанесением мастику следует тщательно перемешать до образования однородной массы в течение 3-4 минут низкооборотным миксером (до 200 об/мин) со спиралевидной насадкой. Мастика наносится на основание вручную или механически - при помощи автоматического оборудования. При ручном нанесении применяются малярные кисти и накаточные валики. При работе на горизонтальных поверхностях мастика выливается на основание и разравнивается раклями, валиками и кистями. Для механизированного нанесения мастики применяются аппараты безвоздушного распыления, предназначенные для материалов с большой вязкостью. Перед началом работы ручное и автоматическое оборудование должно быть чистым и сухим. Автоматическое оборудование должно соответствовать требованиям, указанным в паспорте, иметь чистые, не засоренные, сопла и шланги. 2.2. Ручное оборудование Ручное оборудование применяется на небольших площадях и сложных участках: на примыканиях, при строительстве бассейнов сложной формы, в помещении с ограниченным пространством. К ручному оборудованию относятся кисти и валики. Рекомендуется использовать кисти с небольшой (4-8 см) не очень густой щетиной (лучше флейцевые). Валик рекомендуется использовать велюровый или махровый коротковорсный (ворс №1-2). Категорически запрещается использование поролонового валика. Направление движения кисти или валика не имеет значения. 2.3. Автоматическое оборудование Для механизированного нанесения мастики применяются аппараты безвоздушного распыления, предназначенные для материалов с большой вязкостью, например, аппараты фирм WAGNER (Швейцария), GRACO (США). Автоматическое оборудование целесообразно использовать для нанесения мастики "Гипердесмо" при выработке материала на площади более 3000 м2 в год. Рекомендуется применять сменные сопла, определяющие скорость нанесения материала, угол распыления и толщину покрытия. Перед работой проверить полную комплектацию аппарата, рабочее давление и скорость подачи мастики. 2.4. Очистка оборудования После работы все оборудование и инструмент, используемые при нанесении мастики, должны быть очищены до отверждения мастики в течение 4-6 часов. Грубую очистку от остатков мастики производят ножом, скребком и т.п., после чего оборудование и инструмент протирают и промывают растворителями: ацетоном, 646, 647, ксилолом, толуолом. Очистка аппаратов безвоздушного распыления и их частей производится 2-3 кратной циклической промывкой ксилолом или толуолом. Остатки материала утилизируют как отходы лакокрасочных материалов. 3. Требования к основанию и его подготовка 3.1. Виды покрытий и конструкций бассейнов В зависимости от расположения и планировочной конструкции различают открытые и закрытые бассейны. По уровню размещения конструкций бассейны делятся на полностью погруженные (расположенные ниже уровня пола или земли), частично погруженные и поверхностные. По назначению бассейны делятся на следующие категории: бассейны общественного пользования (спортивные и лечебные) и частные бассейны. По способу циркуляции воды бассейны:
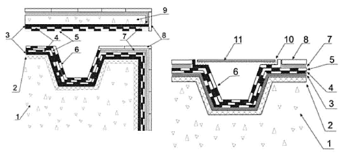
По виду покрытия бассейны делятся на два типа: первый - поверхность бассейна облицована плиткой или мозаикой, под которыми расположен гидроизоляционный слой (Рис. 1), второй - гидроизоляционный слой бассейна одновременно является декоративным и финишным слоем (Рис. 2). При строительстве бассейнов с различными видами покрытий принципы устройства бетонной чаши, внешней гидроизоляции и установки оборудования - одинаковые. 3.2. Применяемые материалы Для устройства покрытия бассейна применяются следующие материалы:
В данном руководстве не рассматриваются материалы, необходимые для установки водного оборудования. ![]() Конструкция бассейна с отделкой плиткой или мозаикой
![]() Конструкция бассейна с финишным покрытием мастикой "Гипердесмо"
3.3. Требования к бетонному основанию Железобетонная конструкция чаши бассейна должна быть выполнена согласно СНиП 2.03.01-84 с учетом места ее расположения (внутри или снаружи помещения). Рекомендуемый класс бетона по прочности на сжатие - не ниже В25 (марка бетона М350). Для закрытых бассейнов марка бетона по водонепроницаемости - W6. Для открытых бассейнов марка бетона по морозостойкости - F200, по водонепроницаемости - W6. Наличие холодных швов и следов "обрубания" лишнего бетона после демонтажа опалубки крайне нежелательно, поскольку ведет к образованию микротрещин. Для получения качественной чаши рекомендуется использовать инвентарную опалубку, что позволяет добиться абсолютно ровных стен чаши бассейна, которые не требуют дополнительной обработки. Прилегающие к бассейну территории (внешний бассейн) и помещение, в котором находится бассейн, должны быть спроектированы согласно СНиП 2.08.02-89 Все наружные поверхности чаши бассейна, соприкасающиеся с грунтом, должны быть защищены гидроизоляционным слоем. При высоком уровне грунтовых вод должны быть приняты меры по его снижению до отметки ниже донной плиты чаши бассейна при помощи дренажа. Верхняя кромка бассейна (борт) должна быть выполнена по водяному уровню строго горизонтально (отклонение от горизонтали не более 1 мм на 1 м) согласно СНиП 3.04.01-87. Установку закладных деталей желательно осуществлять до бетонирования, используя специальные гидроизоляционные материалы, саморасширяющиеся герметики. При установке закладных элементов в готовую чашу, ниши и отверстия в бассейне, предназначенные для установки закладных элементов, должны быть заделаны с использованием безусадочного цементного раствора. В новых бетонных чашах холодные швы должны быть заделаны герметиком "Рабберфлекс-50". В старых бетонных чашах небольшие (до 2 мм) трещины должны быть заделаны герметиком "Рабберфлекс". Геометрические размеры элементов бассейна (ступеней, переливного желоба и др.) должны назначаться с учетом целого количества мозаичных или плиточных рядов (при использовании плитки). Толщина стенок бассейна не должна быть меньше 20 см, толщина бетонного дна бассейна не должна быть меньше 30 см. 3.4. Выравнивание бетонной чаши Оштукатуривание внутренней поверхности чаши бассейна должно быть проведено с учетом следующих требований:
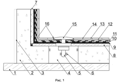
При использовании мастики "Гипердесмо" в качестве финишного слоя необходимо применение тонкослойной водостойкой штукатурки на стенках бассейна для более тщательного выравнивания поверхности. Для придания ровности дну бассейна достаточно использования самовыравнивающейся смеси. Поверх тонкослойной штукатурки на стенках и самовыравнивающейся смеси на полу наносится праймер "АкваДюр" в один слой. 4. Устройство гидроизоляции 4.1. Подготовка основания 4.1.1. Общие требования. После нанесения штукатурок и самовыравнивающейся смеси необходимо дождаться полного их высыхания (согласно инструкции по нанесению сухих смесей). Основание должно быть сухим, обеспыленным и без следов жира, масел или нефтепродуктов. Поверхность можно обработать растворителем 646 или ацетоном. При использовании особых гидрофобных добавок в бетон или цементные смеси при строительстве чаши или подготовке основания, предварительно необходимо сделать тестовое нанесение мастики для проверки совместимости. Наличие в основании несовместимых добавок может привести к ухудшению адгезии или к утрате мастикой способности к полимеризации. При нанесении гидроизоляции под плитку допускается наличие на поверхности чаши микротрещин и небольших неровностей. При нанесении мастики "Гипердесмо" в качестве финишного слоя не допускается наличие микротрещин и неровностей на всей поверхности основания. 4.1.2. Грунтование поверхности ![]() Подготовка основания: а - выравнивание стен, б - выравнивание дна
Выровненная поверхность перед нанесением мастики "Гипердесмо" должна быть прогрунтована праймером "АкваДюр". Это двухкомпонентный состав, поэтому перед нанесением необходимо смешать оба компонента и добавить 10-30% воды (2-6 литров на один комплект 20кг). При перемешивании компонентов и воды приобретает цвет и консистенцию молока. После полимеризации становится полностью прозрачным. Жизнеспособность готовой смеси 60-90 минут при температуре +250С. Праймер "АкваДюр" наносится при температуре не ниже +100С в один слой расходом 0,2 кг/м2. Для нанесения праймера рекомендуется использовать кисть или валик (Рис. 3). 4.2. Нанесение гидроизоляционной мастики "Гипердесмо" 4.2.1. Общие требования Мастика Гипердесмо - готовый к применению жидкий однокомпонентный материал, изготовленный на основе чистых эластичных, гидрофобных полиуретановых смол. После нанесения на любую поверхность полимеризуется под воздействием влажности воздуха и образует прочную, эластичную, сплошную мембрану, обладающую защитными и гидроизоляционными свойствами. Мастика однокомпонентная и не требует разбавления растворителями. Перед нанесением мастику необходимо тщательно перемешать до получения однородной массы в течение 3-4 минут низкооборотным миксером (до 200 об/мин) со спиралевидной насадкой. Толщина каждого слоя мастики должна быть не менее 0,3 мм (расход материала 0,4 кг/м2), не более 1 мм (расход материала 1,3 кг/м2). Нанесение мастики слоем более 1 мм замедляет полимеризацию и снижает качественные характеристики гидроизоляционного слоя, возможно образование пузырьков в слое мастики. Участки с повышенными нагрузками или повышенными требованиями к истиранию (ступени, участки под приставными лестницами) армируются стеклосеткой. На поверхность первого слоя мастики до его полимеризации укладывается стеклосетка и утапливается в нее. Температура нанесения от +50С до +350С. При нанесении необходимо учитывать, что при понижении температуры процесс полимеризации замедляется, и промежуток времени перед нанесением следующего слоя должна быть увеличен. Не допускать загрязнения предыдущего слоя. Не допускаются непрокрасы и наплывы мастики. Необходимо следить за толщиной наносимого слоя. 4.2.2. Технология нанесения гидроизоляционной мастики "Гипердесмо" под плитку или мозаику для бассейнов глубиной менее 2 метров. Первый слой мастики "Гипердесмо" наносится на поверхность через 3-4 часа после обработки праймером "АкваДюр". Первый слой полимеризуется в течение 6-8 часов после нанесения. Второй слой наносится не ранее, чем полимеризуется первый слой, но не позже, чем через 24 часа. При нанесении второго слоя первый слой должен быть немного липким на ощупь. Мастика наносится минимум в два слоя, каждый последующий слой мастики должен быть другого цвета, контрастирующего с предыдущим. Это обеспечивает визуальный контроль толщины и качества всего гидроизоляционного слоя. Мастика наносится на всю поверхность бассейна: и на поверхность, которая будет покрываться плиткой, и на поверхность, которая будет скрыта (переливы, желоба). После нанесения второго слоя мастики "Гипердесмо" до полимеризации, на вертикальные поверхности равномерно набрасывают кварцевый песок фракции не более 2 мм с расходом 1 - 1,5 кг/м2. Это необходимо для увеличения сцепления с клеевым слоем. Песок в мастику не утапливать. После полимеризации слоя мастики смахнуть лишний песок с поверхности. По поверхности полностью полимеризовавшейся (через 24 - 48 часов после нанесения последнего слоя) мастики, посыпанной кварцевым песком, наносится цементный клеевой состав. Далее укладывается плитка или мозаика. Производится расшивка межплиточных швов и заполнение их в сопряжениях "стена - стена", "пол - стена" герметиком "Рабберфлекс". Последним этапом применяется водостойкая затирка для плитки (Рис. 4а). ![]() Устройство гидроизоляции
4.2.3. Финишное нанесение мастики "Гипердесмо" Первый слой мастики "Гипердесмо" наносится на поверхность через 3-4 часа после обработки праймером "АкваДюр". Первый слой полимеризуется в течение 6-8 часов после нанесения. Второй слой наносится не ранее, чем полимеризуется первый слой, но не позже, чем через 24 часа. При нанесении второго слоя первый слой должен быть немного липким на ощупь. Каждый последующий слой мастики должен быть другого цвета, контрастирующего с предыдущим. Это обеспечивает визуальный контроль всего гидроизоляционного слоя. Мастика наносится на всю поверхность бассейна: и под плитку, и на поверхность, которая будет скрыта (переливы, желоба). Перед нанесением финишного слоя в банку с мастикой добавляется пигмент для придания поверхности необходимого цвета. Возможно любое цветовое решение и комбинирование разноцветных мастик для создания рисунка или нанесения разметки в плавательных бассейнах. Концентрированный пигмент добавляется в количестве 1 -2% для получения насыщенного голубого цвета. При использовании других пигментов количество их не должно превышать 5% от веса мастики "Гипердесмо". Для получения более плотной и упругой поверхности в мастику для финишного слоя, необходимо добавить акселератор "А3000". Применение акселератора "А3000" увеличивает скорость полимеризации (жизнеспособность смеси 20-30 минут при 250С). Добавлять акселератор рекомендуется частями, смешивая мастику с акселератором в отдельной емкости, чтобы избежать полимеризации мастики до нанесения. Расход Акселератора "А3000" 1 литр на 25 кг мастики "Гипердесмо". (Рис.4б). Пигменты и акселератор рекомендуется перемешивать с мастикой до образования однородной массы в течение 3-4 минут низкооборотным миксером (до 200 об/мин) со спиралевидной насадкой. Избегать образования воздушных пузырьков в мастике при перемешивании. 4.2.4. Проверка качества гидроизоляции Гидроизоляция должна быть выполнена в соответствии с требованиями СНиП 2.06.01-86. Гидроизоляционная мастика должна быть нанесена равномерно, без непрокрасов, разводов и наплывов мастики. После выполнения внутренней гидроизоляции чаши, через 24 часа после нанесения последнего слоя мастики, бассейн следует наполнить водой и выдержать не менее 14 суток с целью обнаружения протечек, после чего слить воду и тщательно высушить чашу. Для внешней гидроизоляции чаши бассейна может применяться гидроизоляционная мастика "Гипердесмо". Нанесение мастики аналогично внутренней гидроизоляции. Если снаружи чаша бассейна будет присыпаться грунтом, то гидроизоляционная мастика должна быть защищена слоем нетканого геотекстиля. Неудовлетворительное качество гидроизоляции может быть обусловлено:
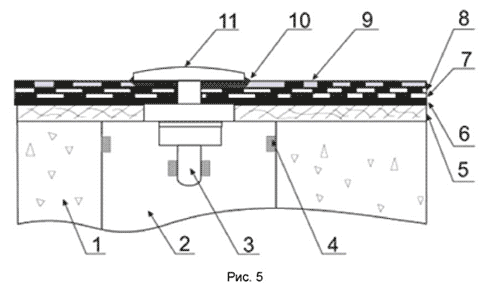
4.3. Детали 4.3.1. Установка водного оборудования Все трубы и закладные элементы водного оборудования устанавливаются непосредственно в бетонную чашу. Отверстия в бетоне заполняются безусадочным цементным раствором. По периметру укладывается саморасширяющийся герметик. Установочные места форсунок, сливов, скиммеров, обработанные штукатурным составом, покрываются минимум двумя слоями мастики "Гипердесмо". После установки закладных элементов поверхность чаши выравнивается и праймируется. Затем наносится необходимое количество слоев мастики "Гипердесмо" (под плитку - 2, в качестве финишного слоя - 3) до края отверстия закладного элемента. Укладывается плитка (если это предусмотрено проектом). В последнюю очередь устанавливаются декоративные элементы водного оборудования. Фланец декоративного элемента с внутренней стороны обрабатывается герметиком "Рабберфлекс" для обеспечения плотного примыкания. Технология устройства гидроизоляции при установке оборудования на горизонтальных и вертикальных поверхностях одинакова (Рис. 5). ![]() Установка оборудования в бассейне без плитки
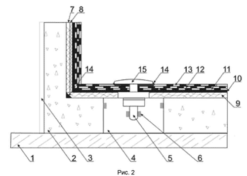
Примечание: на стенках бассейна вместо слоя самовыравнивающейся смеси наносятся слои штукатурки и шпатлевки. 4.3.2. Устройство переливов Многие бассейны проектируются со скрытыми переливами для слива воды по периметру бассейна, которые закрываются решетками. Даже если весь бассейн отделывается плиткой или мозаикой, такие места удобно и экономически выгодно делать облегченными. На видимой части бассейна укладывается плитка или мозаика, а скрытые участки, нуждающиеся в гидроизоляции, дополнительно (к двум обязательным слоям мастичной гидроизоляции) покрываются слоем мастики "Гипердесмо". Во избежание разрыва или истирания мастики в местах, на которых будет лежать решетка, необходимо применять армировочную сетку (Рис.6). ![]() Рис.6 Устройство переливов (скрытого и с решеткой)
Примечание: в бассейнах без плитки система устройства гидроизоляции переливов аналогична данной. 4.3.3. Устройство стыков и примыканий Большинство бассейнов и резервуаров имеют прямоугольную форму. В этом случае на углы под плитку между двумя слоями мастики "Гипердесмо" укладывают армировочную сетку шириной не менее 30 см, с размером ячеек 3х3 мм. Если бассейн сложной формы, то армировочная сетка используется на всех стыках, углах и перегибах. Если бассейн отделывается тяжелой плиткой армируются все вертикальные поверхности. Возможно применение анкеров с горизонтальными растяжками или армировочной сеткой (полиэстерной или стальной) в слое штукатурки для усиления. Установка лестниц и поручней по периметру бассейна. Места крепления лестниц и поручней обрабатываются герметиком "Рабберфлекс" и закрываются декоративным элементом. Фланцы внешних крепежных элементов обрабатываются герметиком "Рабберфлекс-50" с внутренней стороны и крепятся к поверхности бассейна. 5. Эксплуатация и ремонт Для очистки бассейна можно использовать любые химические очистители, но в концентрации не более 10 %. Для очистки поверхности мастики "Гипердесмо" можно применять неабразивные моющие средства и мягкие губки и тряпки. Запрещается использование металлических и жестких щеток и химических составов в концентрации более 10 % (щелочи, кислоты). При использовании мастики "Гипердесмо" в качестве финишного слоя покрытие легко ремонтировать. Если поверхность мастики была повреждена (порезана), надо ошкурить поврежденный участок. Если на покрытии произошло вздутие мастики, то сначала необходимо вырезать пузырь и ошкурить его края. Далее необходимо обработать ошкуренные участки растворителем, тем самым обеспылить и обезжирить. Взять новую банку мастики, подходящей по цвету к покрытию. Нанести мастику в два слоя внахлест на старую поверхность, Через 24 часа поверхность готова к эксплуатации. 6. Условия выполнения работ При выполнении гидроизоляционных работ на объекте ответственный за производство работ обязан руководствоваться Федеральным законом "Об основах охраны труда в Российской Федерации", СНиП 12-03-99. СНиП III-4-80, ГОСТами, Правилами пожарной безопасности, инструкциями заводов-изготовителей по эксплуатации технической оснастки, оборудования, инструмента, применяемых в процессе работы. Должен быть разработан проект производства работ и утвержден главным инженером подрядной организации. До начала эксплуатации применяемое оборудование, а также средства индивидуальной и коллективной защиты должны быть испытаны согласно инструкциям заводов-изготовителей. Результаты испытаний должны быть оформлены актами. При производстве работ на одном участке несколькими строительными организациями необходимо оформить журнал совмещения работ для создания безопасных условий труда. Все рабочие должны выполнять работы в спецодежде и при наличии средств индивидуальной защиты. Гидроизоляционные работы можно производить только при температуре от +50С до +350С при отсутствии атмосферных осадков. Не допускается длительное (8-12 часов) хранение открытой банки с мастикой, т.к. она начнет полимеризоваться. Не допускается длительное нахождение мастики в упаковке при отрицательных температурах (ниже -100С) и при высоких положительных температурах (выше +370С). Рекомендуемая температура хранения мастики от +100С до +250С. Мастику, растворители, герметики, праймеры, пигменты хранить в плотно закрытой таре с соблюдением правил хранения, рекомендованными заводом-изготовителем. Избегать контакта мастики до полимеризации со спиртами и водой. Транспортировка возможна только в герметичной заводской упаковке. ВНИМАНИЕ! Мастика "Гипердесмо" огнеопасна. При проведении работ запрещается курить и применять открытый огонь. В случае возгорания использовать углекислотный огнетушитель и песок. Для защиты дыхательных путей во время работы с мастикой необходимо пользоваться респиратором. При попадании мастики в глаза нужно немедленно промыть их обильным количеством воды и обратиться за медицинской помощью. При попадании мастики на кожу обработать растворителем и промыть большим количеством воды с мылом. При употреблении внутрь срочно обратится за медицинской помощью. |
||
|
Клеевой отдел: +7 (495) 543-26-65
| ||
|---|---|---|
|
| Наш информационный партнер - стоительный портал www.stroyka.ru | Web-mastering © Почерк.Ru, 2006-2026 |